控制主、輔噴嘴定時噴射的部件是氣閥,氣閥按其驅動原理分為機械閥和電磁閥兩類。前者用控制凸輪來完成氣閥的啟閉;后者則以算機的指令,由電子脈沖訊號轉換成閥門的開閉動作來完成。機械閥的調整不便,易磨損,控制氣流的精度差,目前已被電磁閥替代。電磁閥的啟閉頻率很高,在高速運行的噴氣織機上,每引入一根緯紗,電磁閥需要啟閉一次,一次啟閉動作在數毫秒時間內完成,因此要求電磁閥具有靈敏的高速響應特性和準確的時間控制特性。
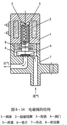
圖6—14為一種電磁閥的結構,勵磁線圈2通電時,銜鐵3在電磁引力的作用下上升,閥門4和墊片6被提升,氣路開通,噴嘴開始噴射氣流;勵磁線圈2斷電后,銜鐵3在彈簧5的作用下復位,閥門關閉,從而關斷氣路。

[1][2][3]下一頁>>
相關信息 







推薦企業
推薦企業
推薦企業